2025-09-11
2025-09-11
2025-09-11
了解一下,冷凍雞翅進口報關流程是這樣的;冷凍雞翅進口報關流程|進口冷凍雞翅尖報關代理|雞翅中進口代理報關行|冷凍雞翅根進口清關公司。
臻力供應鏈是一家為企業提供專業的“全球進口一條龍服務”的物流供應鏈服務公司。從2004年公司成立起,經過15年的發展,目前在擁有10家公司,覆蓋沿海國內的主要口岸,從華北的大連港一直延伸到華南的深圳港。
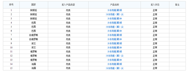
冷凍雞翅允許進口的國家有:阿根廷、巴西、白俄羅斯、波蘭、俄羅斯、法國、泰國、智利,其中最常進口的是“阿根廷、巴西、俄羅斯、智利”。(如需了解冷凍雞肉、雞爪等進口準許國家,您可以提供貨物的海關編碼給我們幫您查詢)。


冷凍雞翅進口報關
作為全球的雞肉消費大國,禽肉類進口逐年上升,那么禽肉類進口商如何從國外進口,需要哪些資質才能進口,進口報關流程是怎樣的?以下是冷凍雞翅進口報關流程,希望能幫到您!

冷凍雞翅進口報關
冷凍禽肉類進口報關,國內進口商的企業資質要求:
(1)進出口經營權;
(2)肉類的經營范圍及肉類資質;
(3)進口食品進出口商備案企業備案(進口辦理);
(4)海關企業年報申報、海關無紙化簽約、電子委托申報簽約(進口辦理)
冷凍雞翅進口報關流程:
簽訂合同--食品中文標簽審核--備貨 --準備冷凍雞翅進口報關單證--發貨到港口--換單--報檢--報關--交稅--貼標簽 -- 申請商檢查驗---貨物放行
關于冷凍雞爪進口報關:
優質凍雞爪主要以巴西、阿根廷、智利、澳大利亞為主,品質好,個頭比較大。隨著中智、中澳自貿協定實 施,進口冷凍肉類關稅逐步下調,進口成本更低。冷凍雞翅進口報關專業代理肉類食品一般貿易進口報關,為企業提供各種冷凍肉類產品進口代理服務,冷凍牛肉、冷凍羊肉冷凍雞腳、冷凍雞爪、冷凍雞翅、冷凍雞腿等,我司在肉類凍柜進口清關方面擁多年進口報關經驗,凍品進口報關流程非常熟悉,歡迎咨詢我們!
冷凍雞翅等凍品進口報關有些單證我司可以代辦,咨詢了解方式:點擊我司網站網頁右下角的咨詢框【在線咨詢】;或者撥打我司全國免費咨詢電話(注:如是下班時間,可給我們留言,我們的客服小姐姐會在看到的第一時間給您致電!上班時間:8:45-18:00)
注明:本文圖片來源于網絡,如有侵權請聯系我們刪除。
作為臻力公司的一項重要服務,大連食品進口報關涉及到許多關鍵要點和細節。下面將詳細介紹大連食品進口報關的重要性、所需文件和程序、常見問題以及臻力公司的專業服務。通過閱讀本文,將對大連食品進口報關有更全面
2025-09-30
公司一般貿易進口上海多晶爐清關流程代理設備,其實很簡單,即:確定舊設備的海關hs編碼-準備舊設備進口報關資料-辦理商檢備案-運輸-進口報關報檢-查驗繳稅。我司臻力,成立于2012年,有20年二手舊機械
2025-09-30
代理食品進口報關是一個復雜而關鍵的過程。下面將介紹如何通過臻力公司的專業服務,順利完成食品進口報關,并避免常見問題的發生。從準備文件到報關流程,提供詳細的指導和細節,確保進口業務順利進行。專業進口報關
2025-09-30
在食品進口領域,清關報關是一個重要的環節。天津作為我國重要的進口港口之一,擁有眾多專業的清關報關行。下面臻力將介紹作為一家專業的天津食品進口清關報關行,為客戶提供全方位的服務。專業高效,進口清關報關、
2025-09-30
我司臻力,成立于2012年,有20年進口報關經驗,全國有10家分公司(廣州、深圳、北京、上海、寧波、武漢、青島、天津、大連、昆山),我司可提供危險品進口報關一站式門到門服務。接下來臻力給大家分享青島進
2025-09-30
臻力公司是一家有20年一站式機械設備進口報關經驗的進口報關公司,成套設備進口怎么報關?成套機械設備清關流程是怎樣的呢?青島進口臺灣成套設備報關資料要提供哪些呢?我司在廣州、上海、深圳、天津、北京、寧波
2025-09-30
伊朗開心果是一種美味且營養豐富的食品,越來越受到中國消費者的喜愛。然而,進口伊朗開心果需要經過繁瑣的報關手續。作為一家專業的進口報關代理公司,臻力提供高效、可靠的服務,幫助客戶順利將伊朗開心果引入中國
2025-10-23
越南沖壓機進口報關資料手續,您清楚嗎?臻力,成立于2012年,有20年二手舊設備進口報關經驗,全國10家分公司,分布在上海總部、廣州、深圳、北京、寧波、武漢、青島、天津、大連、昆山等一二線港口城市,有
2025-10-22

注明:本網站圖片來源于網絡,如有侵權請聯系我們刪除。